Route
Le Trek filtré déjà remporte des courses
Découvrir le nouveau vélo Lidl-Trek, qu'ils viennent de lancer au Critérium du Dauphiné, ne nous enlève pas nos doutes mais en crée davantage.
Route
Découvrir le nouveau vélo Lidl-Trek, qu'ils viennent de lancer au Critérium du Dauphiné, ne nous enlève pas nos doutes mais en crée davantage.
Route
Les coureurs de l'équipe Movistar arborent un Canyon Aeroad renouvelé lors du Critérium du Dauphiné. Le vélo présente quelques nouveautés telles que...
Route
Jonas Vingegaard continue avec son plan de récupération dans le but de pouvoir concourir dans le Tour de France. Le vainqueur des deux derniers maillots...
Route
Valtteri Bottas, le pilote le plus cycliste de la grille de Formule 1 et également ambassadeur de Canyon, a été vu avec une mise à jour de l'Aeroad.
Route
Michelin débarque sur les semelles des chaussures de cyclisme sur route en partenariat avec Ekoi et les Pro Team C12. Le modèle a suivi...
Route
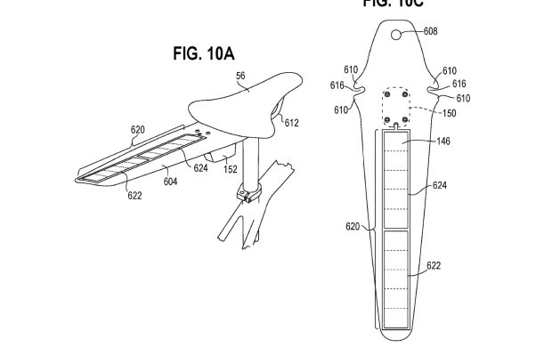
Les rumeurs concernant ce qui semble être un nouveau modèle Trek se confirment, dans lequel la marque étend le design caractéristique IsoFlow de ses Madone.
Route
Daan Hoole et Dylan van Baarle seront les lieutenants de Mathieu van der Poel à Paris. Celui d'Alpecin-Deceuninck a également annoncé sa...
Route
Grande participation à cette édition 2024 du Critérium du Dauphiné, qui se déroule du 2 au 9 juin en prélude au Tour de France.
Route
Il a été déclaré coupable pour l'utilisation et la possession de Menotropina.
Route
La célèbre marque de selles Prologo se vante de ses succès après le Giro d'Italie 2024 où ils ont remporté 9 victoires et porté le maillot rose...
Route
Jonathan Milan a été le roi du classement par points du Giro, ce que Trek a célébré avec une personnalisation spectaculaire de son Trek Madone SLR.
VTT
Gobik présente une nouvelle collection avec une esthétique renouvelée des années 90, des designs amusants et une intense explosion de couleurs.
Route
Aurum, la marque de vélos d'Alberto Contador et d'Iván Basso, fait évoluer son modèle Magma, le vélo qui a brillé lors du Giro...
Route
Le Giro d'Italia 2024 se termine avec la victoire de Tadej Pogacar et une dernière étape remportée une fois de plus par Tim Merlier au sprint.
Route
Tadej Pogacar termine son excellent Giro d'Italie 2024 avec une nouvelle victoire, sa sixième dans ce Giro d'Italie 2024 qui agrandit sa légende.